进口汽车>>正时链>>克莱斯勒
 

Caravan 3.3


CHRYSLER
车    型 发动机号 年    款
Caravan 3.3 EGA 1991-1994
Voyager/Grand Voyager 3.3 EGA 1991-2001
Voyager/Grand Vooyager 3.8 EGH 1996-2001

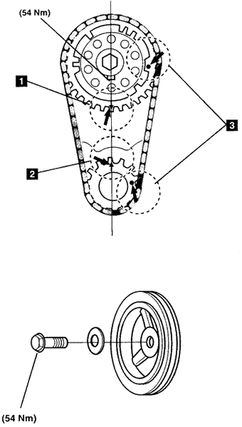
气门正时调整步骤

1.转动曲轴直到凸轮轴正时标记在6点钟位置(如图中1所示)。

2.确保正时标记在曲轴和凸轮轴之间的中心线上相对(如图中1和2)。

3.在正时链的拆卸/安装过程中:

4.将深颜色的正时链链节与链轮标记对准(如图中3所示)。

5.为检查正时链运动:

  • 避免曲轴旋转。
  • 顺时针方向对凸轮轴链轮施加扭矩-41牛顿·米(装有气缸盖时)或20牛顿·米(气缸盖被拆下)。
  • 沿正时链边固定住尺子。
  • 逆时针方向对凸轮轴链轮施加扭矩-41牛顿·米(装有气缸盖时)或20牛顿·米(气缸盖被拆下)。
  • 如果链条运动超过3.2毫米,更换正时链。

6.为确保安装正时链盖期间机油泵啮合正确,拆下曲轴密封。


 
[关闭本窗口]